Doporučujeme dokúpiť
Popis produktu
TOPWET TWOP
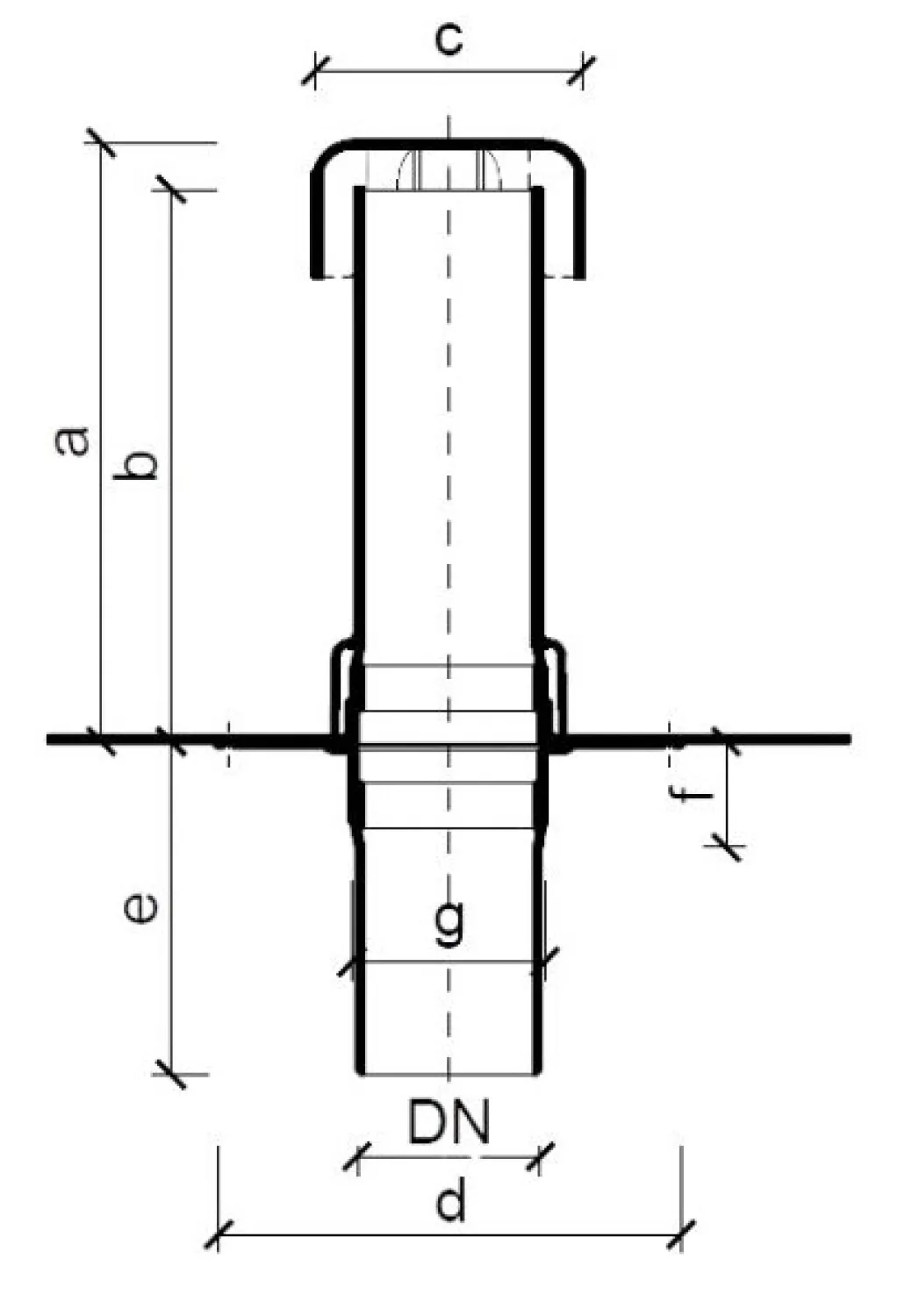
TOPWET TWOP je profesionálny strešný prvok určený na odvetranie kanalizačných stúpačiek cez ploché strechy. Vďaka integrovanej manžete je možné odvetrávací prvok bezpečne a úplne tesne napojiť na hydroizolačný systém z asfaltových pásov alebo fólií (podľa konkrétneho vyhotovenia).
Komínek je vybavený dažďovou krytkou, ktorá bráni vnikaniu vody a nečistôt, pričom stále umožňuje voľný odvod vzduchu z kanalizačného potrubia. Štandardné rozmery sú 300 mm nad izoláciou a 200 mm pod izoláciou, no na zákazku je možné dĺžku výrazne upraviť až na 500 mm nad izoláciu a 1000 mm pod izoláciu.
Pri zvýšenej hrúbke tepelnej izolácie je možné TWOP kombinovať s nadstavcom TOPWET TWOD, ktorý zabezpečuje správnu výšku prestupu – použiteľné od hrúbky izolácie 160 mm.
Tento prvok je určený pre novostavby aj rekonštrukcie plochých striech, bytové aj rodinné domy a všetky objekty s nutnosťou spoľahlivého odvetrania kanalizačného systému.
Materiál manžety:
- bitúmen - modifikovaný asfaltový pás
- hydroizolačná fólia PVC
- hydroizolačná fólia TPO (FPO)

| Typ | DN | Prierez (cm2) | Rozmery (mm) | ||||||
| a | b* | c | d | e** | f | g | |||
| TWOP 50 | 50 | 15 | 360 | 332 | 110 | 250 | 200 | 60 | 56 |
| TWOP 75 | 70 | 37 | 360 | 332 | 110 | 250 | 200 | 60 | 81 |
| TWOP 110 | 100 | 85 | 360 | 332 | 160 | 250 | 200 | 60 | 116 |
| TWOP 125 | 125 | 111 | 360 | 332 | 160 | 250 | 200 | 60 | 131 |
| * na objednávku možnosť predĺženia až do 500 mm | |||||||||
| ** na objednávku možnosť predĺženia až do 1000 mm | |||||||||
Použitie
- Odvetranie kanalizačných stúpačiek cez plochú strechu
- Prestup kanalizačného potrubia cez hydroizoláciu
- Strechy s asfaltovými pásmi alebo fóliami (podľa typu manžety)
- Novostavby, rekonštrukcie, občianske aj priemyselné objekty
- Hrubé skladby striech v kombinácii s TWOD (od 160 mm izolácie)
Benefity
- Integrovaná manžeta pre 100% tesné napojenie na hydroizoláciu
- Dažďová krytka bráni prenikaniu vody a nečistôt
- Nastaviteľné dĺžky podľa požiadaviek projektu
- Možnosť výrazného predĺženia – až 500 mm nad izoláciu / 1000 mm pod izoláciu
- Kompatibilita s nadstavcom TWOD
- Spoľahlivé odvetranie kanalizácie a prevencia zápachu
- Odolná konštrukcia pre dlhoročné použitie
Technická špecifikácia
| Výrobca | TOPWET |
| Výrobok | Odvetrávací komín |
| Materiál komína | PA6 |
| Materiál manžety |
Bitúmen - modifikovaný asfaltový pás Strešná fólia PVC Strešná fólia TPO/FPO |
| Výška nad izoláciou | 300 mm (na objednávku možné až 500 mm) |
| Hĺbka pod izoláciou | 200 mm (na objednávku možné až 1000 mm) |
| Farba komína |
Biela (PVC a TPO) Čierna (bitúmen) |
| Farba manžety |
Svetlá sivá (PVC a TPO) Čierna (bitúmen) |
Základné parametre
Kontakt
Máte otázky ohľadom tohto produktu?
Kontaktujte nás.
0914 223 322
[email protected]
Pondelok - Piatok: 7:00 - 15:30
Pozrite si naše recenzie
Recenzie
Pre tento produkt neboli pridané žiadne recenzie.